2004年6月8日(その1) 微妙に復活する気配が。 しばしまた - rpg 背 景 クォーター
2004年6月8日(その1) 微妙に復活する気配が。 しばしまた
モデリング要らず!Google 3Dデータを使って、1日で街のゲーム 
2004年6月8日(その1) 微妙に復活する気配が。 しばしまた
マイケル・ジャクソン没後10年】ゲーム『ムーンウォーカー』に魂を込め 
ザクソン』を通じて考えるクォータービューシューティングの世界 
2004年6月8日(その1) 微妙に復活する気配が。 しばしまた
Ultimate Isometric Toolkit (Lite) クォータービュー 
消し方次第でボスも瞬殺!誘爆を狙う戦略型パズルRPG「ピタッチ!☆4.0 
スマホ新作『ディアブロ イモータル』インタビュー。初期クラス(職業 
斜め上視点「クォータービュー」を楽しめるRPG【ゲームアプリ 
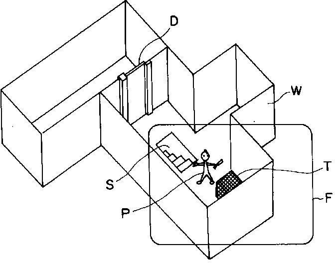
コナミの壁透過カメラ特許をちゃんと読んでみたら無罪だった件 
N-クローズクォーター[Ba]|『PSO2 ニュージェネシス』プレイヤーズ ![N-クローズクォーター[Ba]|『PSO2 ニュージェネシス』プレイヤーズ](https://pso2.jp/players/catalog/list/costume/20210630_01/img/ss/ba100180.png)
0 Response to "2004年6月8日(その1) 微妙に復活する気配が。 しばしまた - rpg 背 景 クォーター"
Post a Comment